一、視頻實拍
二、產品簡介
LXZ-15~40系列光電直讀遠傳水表是一種數據可遠距離傳輸的智能儀表,用來測量單向水流的自來水管道飲用冷水的總量。它采用了M-BUS∕RS485總線的通訊方式,實現水表使用水量的遠程直讀,有效地減少了管理部門上門抄表的工作量。
本類水表采用了光電直讀技術直接判斷水表字輪的位置,是基于光電技術和微電子技術的一種“位置識別”技術,它平時不耗電,只是在抄表瞬間供電從而讀取字輪讀數。與傳統脈沖遠傳水表相比,采用分體式設計,電子單元安裝在獨立的全密封腔體內,防水性能達到IP68等級,不會受到光線干擾等問題,不改變傳統水表結構,不影響傳統水表計量精度及靈敏度,它可將讀數誤差降低至零,是自動抄表系統中機電轉換零誤差的電子遠傳水表,且采用微功耗設計,編碼校驗技術,抗干擾能力強、傳輸距離遠、計量精度高、始動流量小、抄表方便、外型美觀、安全衛生、壽命長等特點。
光電直讀遠傳水表符合GB/T778-2018《飲用冷水水表和熱水水表》和CJ/T224-2012《電子遠傳水表》的技術要求。通信規約遵循CJ/T188-2004《戶用計量儀表數據傳輸技術條件》、DL/T645-2007《多功能電能表通信協議》、GB-T19582.1-2008 《基于Modbus協議的工業自動化網絡規范 第1部分:Modbus應用協議》、GB-T19582.2-2008《基于Modbus協議的自動化網絡規范 第2部分:Modbus協議在串行鏈路上的實現指南》的要求,也可根據客戶需求定制通信協議。
三、產品特點
1.可直接讀取字輪數據,與傳統脈沖遠傳水表相比,無需設置表底數、表常數等參數,沒有累計讀數誤差,機械讀數和電子讀數完全一致,不存在因累計誤差或水表倒轉而引起兩者讀數不一致的問題;
2.較低的功耗,只有抄表時才瞬間供電,抄完表馬上斷電;
3.通訊可靠性很高;
4.采用對射式方式,直接讀取字輪位置數據;
5.抄表及管理自動化;
6.每只水表有唯一的地址編號,總線制布線方式,施工布線非常簡單。
四、產品功能
1.計量流量功能
可以計量單向、非脈沖的水流量。
2.集抄管理功能
通過電腦的RS485通訊方式可對水表進行表號設置、讀寫底用量等功能。
五、技術指標
1.電氣參數
工作電源:①DC9-24V(RS485接口)、②DC24-42V(MBUS接口);
工作環境:水溫:0.1~+45℃(冷水)、0.1~+90℃(熱水) 濕度:0~95%RH;
與上位機通信接口方式:RS-485總線接口 或M-BUS總線接口可選;
通訊傳輸速率:1200/2400/4800/9600bps可選;
表到數據采集器最大距離:≤300m;
功耗:靜態電流小于1毫安;抄表瞬間電流小于12毫安;
通訊規約有CJ/T188-2004協議/ DL/T645-2007 /MODBUS協議可選,也可根據需要定制協議。
2.流量技術參數
| 型號 | 公稱口徑 DN | 量程比 Q?/Q? | 過載流量 Q? | 常用流量 Q? | 分界流量 Q? | 最小流量 Q? | 最小讀數 Min | 最大讀數 Max |
| mm | m3/h | m3 | ||||||
| LXZ-15 | 15 | R80 | 3.125 | 2.5 | 0.05 | 0.03125 | 0.00005 | 99999 |
| R100 | 0.04 | 0.025 | ||||||
| R125 | 0.032 | 0.02 | ||||||
| R160 | 0.025 | 0.015625 | ||||||
| LXZ-20 | 20 | R80 | 5 | 4 | 0.08 | 0.05 | 0.00005 | 99999 |
| R100 | 0.064 | 0.04 | ||||||
| R125 | 0.051 | 0.032 | ||||||
| R160 | 0.04 | 0.025 | ||||||
| LXZ-25 | 25 | R80 | 7.875 | 6.3 | 0.126 | 0.07875 | 0.00005 | 99999 |
| R100 | 0.101 | 0.063 | ||||||
| R125 | 0.081 | 0.0504 | ||||||
| R160 | 0.063 | 0.039375 | ||||||
| LXZ-32 | 32 | R80 | 12.5 | 10 | 0.2 | 0.125 | 0.00005 | 99999 |
| R100 | 0.16 | 0.1 | ||||||
| R125 | 0.128 | 0.08 | ||||||
| R160 | 0.1 | 0.0625 | ||||||
| LXZ-40 | 40 | R80 | 20 | 16 | 0.32 | 0.2 | 0.0005 | 99999 |
| R100 | 0.256 | 0.16 | ||||||
| R125 | 0.205 | 0.128 | ||||||
| R160 | 0.16 | 0.1 | ||||||
▲ 過載流量(Q?)— 要求水表在短時間內能符合最大允許誤差要求,隨后在額定工作條件下仍能保持計量特性的最大流量;
▲ 常用流量(Q?)— 額定工作條件下的最大流量。在此流量下,水表應正常工作并符合最大允許誤差要求;
▲ 分界流量(Q?)— 出現在常用流量Q?和最小流量Q?之間、將流量范圍劃分成各有特定最大允許誤差的“高區”和“低區”兩個區的流量;
▲ 最小流量(Q?)— 要求水表的示值符合最大允許誤差的最低流量;
▲ 示值誤差:在水溫0.1℃至30℃范圍內,水表的最大允許誤差在高區(Q?≤Q≤Q?)為±2%,低區(Q?≤Q<Q?)為±5%,水溫超過30℃時,水表在高區的最大允許誤差為±3%,低區仍為±5%。
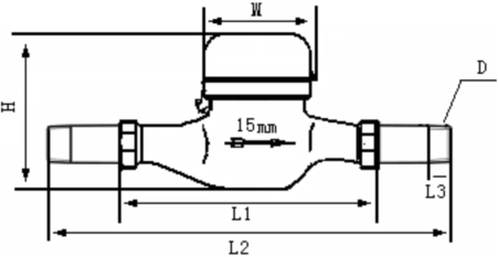
六、外形及規格尺寸

| 公稱口徑 | L1 | L2 | L3 | H | W | D |
| mm | ||||||
| DN15 | 165 | 255 | 14 | 118 | 87 | R?″ |
| DN20 | 195 | 295 | 16 | 118 | 87 | R?″ |
| DN25 | 225 | 345 | 22 | 130 | 92 | R1″ |
| DN32 | 230 | 350 | 22 | 135 | 92 | R1?″ |
| DN40 | 245 | 380 | 27 | 188 | 116 | R1?″ |

| 公稱口徑 | A | B | C | L1 | L2 | L3 | D |
| mm | |||||||
| DN15 | 130 | 13 | 77.5 | 98 | 188 | 14 | R?″ |
| DN20 | 135 | 17 | 77.5 | 106 | 206 | 16 | R?″ |
| DN25 | 140 | 13 | 87.5 | 108 | 224 | 22 | R1″ |
注意事項:
?、偻粋€系統中,光電直讀式遠傳水表的表計地址不能重復設置。
?、贛-bus接口的兩根線纜不區分正負極性。
③RS485接口的四根線纜嚴格區分極性,連線時應根據不同色碼分別對接。
?、芙泳€圖如下圖:
M-bus現場總線 |
RS485現場總線 |
七、安裝及使用注意事項
1.安裝說明
水表在安裝前首先需要讀取并記錄表計地址,確保表內電子編碼與表盤序列號一致。
水表的安裝必須符合國標GB/T778.2的安裝要求。
水表的口徑應根據安裝管道的口徑和經常使用的流量小于或接近水表的常用流量而定,安裝位置應避免曝曬、水淹、冰凍和污染,應方便拆裝和讀數。
水表必須水平安裝,水流方向與箭頭指示方向一致并保證表頭讀數度盤顯示面向上。
新裝水表前,應先清除管道內的砂石、麻絲等雜物,以免造成水表故障。
水表若裝在鍋爐進水端時,要防止鍋爐熱水及蒸汽回流而損壞水表內部機件,最好在水表出水口處加裝止回閥。
將表接頭套入接頭螺母后安裝到管道上,然后扭轉接頭螺母將水表安裝到管道上,保持水表讀數度盤水平向上,水表與管道連接時不應受過大的折彎力,以免損壞水表接口斷裂。禁止出現如下圖所示的安裝方式:

2.使用注意事項
要定期檢查光電直讀式遠傳水表的運行情況,尤其是冬季一定要注意防凍。
水表的安裝位置要避免曝曬、冰凍、污染、潮濕和水淹,以便拆裝和抄表,在有冰凍期間,除將水表和水管包扎外,不用時把水表進水端閥門關閉,出水端放水閥和水龍頭打開,可防止水表因冰凍膨脹損壞,建議安裝在專用水表箱內。
若水表出現遠傳抄表數據與字輪不相符的情況或者水表的遠傳系統發生故障時,以表頭度盤字輪讀數為準。
如翻開表蓋查看水表讀數后要及時閉合表蓋,防止強光干擾影響遠傳讀數的準確性。
水表的接線要按接線圖正確連接,確保不出現斷路、短路等現象,而且要求接線頭不能裸露在外,用密封盒密封或絕緣膠帶纏繞緊。
八、產品配件
水表配件包括連接螺母、接管、橡膠密封圈各兩只。
九、保修與服務
1.凡是購買本廠生產銷售的水表,安裝合理且使用流量正常,在1年內如確因產品質量問題引起的內部機件損壞與故障(凍壞除外),在保證鉛封完整有效的情況下,本廠負責修理、調換,并承擔往返運費。
2.在保修期外如產品出現問題,本廠負責維修,收取成本費。
3.由于安裝不當及人為原因造成水表損壞不在“質保”范圍內。